广东2026年1月自学考试报名时间已定!报考及缴费安排
- 814
- 0
- 0
2025-11-07
来源:网络编辑
广东省2026年1月高等教育自学考试报名工作正式启动。根据广东省教育考试院最新通知,本次考试报名时间为2025年11月25日至12月6日,考试将于2026年1月10日至11日举行。为帮助考生顺利完成报考及缴费,现将关键安排整理如下:
一、报考时间节点与流程
1、报名时间
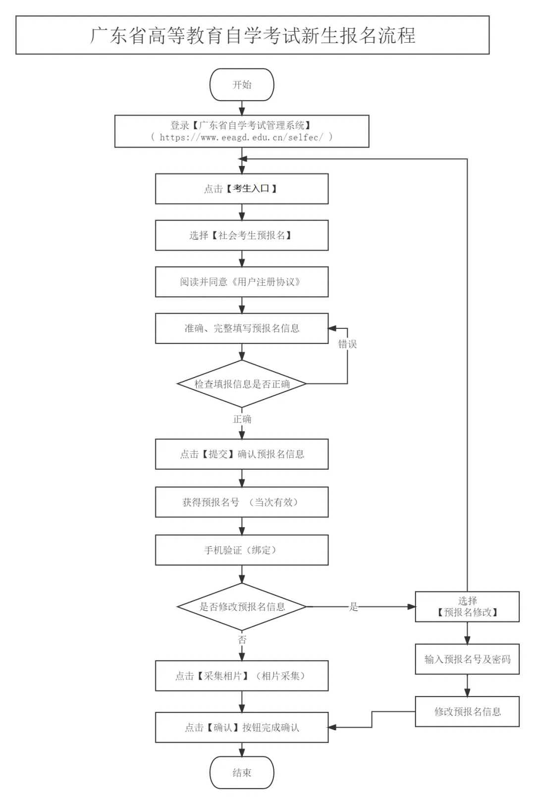
新生预报名:11月25日9:00至11月28日12:00
登录广东省自学考试管理系统(https://www.eeagd.edu.cn/selfec/),填写个人信息并获取预报名号。

正式报名:11月25日9:00至11月28日17:00
凭预报名号完成相片采集(通过“广东省教育考试院”小程序上传证件照)并提交审核,审核通过后生成准考证号。
考生报考:12月1日14:00至12月4日17:00
已取得准考证号的考生登录系统选择考区和课程,完成缴费。
2、自考报名步骤
新生报名流程:
老生报考流程图:

3、关键提醒
新生需在预报名后24小时内完成相片采集,否则预报名号失效。
老生可直接报考,但需确保个人信息(如联系方式、地址)为最新状态。
二、缴费安排与注意事项
1、缴费时间
考生报考课程后需在12月1日14:00至12月5日17:00内完成缴费,逾期未缴费视为放弃报考。
2、缴费方式
支持微信、支付宝、银联在线支付,缴费后系统自动生成电子发票(可在个人账号中下载)。
3、特殊情况处理
重复缴费:若因系统故障导致重复扣款,银行核对后将于15个工作日内原路退回。
缴费失败:检查网络连接或支付账户余额,若问题未解决需及时联系市自考办。
三、报考资格与条件
1、基础条件
凡中华人民共和国公民(含港澳台居民、外籍人士)均可报名,不受年龄、性别、民族、学历、户籍限制。
特殊说明:服刑人员需经监狱管理部门批准后,由指定人员协助完成报名。
2、学历要求
专科:无前置学历要求,可直接报考。
本科:申请毕业时需提交国家承认的专科及以上学历证书(含在读专科生,但需在本科毕业前取得专科文凭)。
3、专业限制
部分专业对报考资格有额外要求:
护理学(专科/本科):需持有护士执业资格证,并提供在职证明或实习单位盖章文件。
药学/中药学:仅限医药类专科及以上学历的在职人员报考。
公安管理:仅限公安系统在职干警或经公安机关审核通过的考生。
四、备考资源与支持
1、官方学习平台
广东省教育考试院官网提供历年真题、考试大纲下载。
“广东自考办”微信公众号推送备考技巧、政策解读。
2、助学服务
网络助学班:提供在线课程、直播答疑,适合时间灵活的考生。
业余助学班:线下授课,适合需要系统学习的考生。
想要报名参加考试的同学一定要关注报名时间和考试科目安排,合理规划复习,别再错过啦!
如果对自考报名时间、报考流程、考试安排、专业介绍、院校选择、报考费用、考试复习等问题,可以向深大优课在线老师咨询!
免费领 1v1 专属方案 → 升学历 / 学技能 / 过雅思
- 814
- 0
- 0
来源:深大优课
学习交流
长按保存,微信扫一扫关注
长按保存,微信扫一扫关注
免费领 1v1 专属方案 → 升学历 / 学技能 / 过雅思
深大控股 丨正规保障 丨 不走弯路
热招
热门榜单推荐
关注深大优课官方公众号
关注微信公众号
第一时间获取课程活动及报考信息